class="a"
|
|
Installation
Instructions For Shafts: 3/4" to 3 3/4" (22mm
to 90mm)
| Please read
instructions thoroughly before installing the P.S.S.
Shaft Seal. |
Do not use grease or oil to
slide the stainless steel rotor down the shaft.
- Do not allow foreign material such as lubricants
or petroleum based antifreeze to come in contact with
face of seal.
- Install the P.S.S. only when the boat is
out of the water
- Do not damage the carbon flange or stainless steel
rotor while unpacking and handling.
- Do not re-use cupped point set crews. If the
cupped point has been flattened replace screws.
- Do not replace nylon hose barb fitting with
stainless or brass.
- Do not use a ozone generating device around the
PSS Shaft Seal it can cause irreparable damage and
failure to the rubber bellow.
| |
|


| |

|
Beginning of Installation
Instructions |
| 1. |
Unbolt the shaft coupling from
the transmission coupling.
|
| 2. |
Remove the shaft coupling from
the shaft (on most installations the coupling is fixed
to the shaft by two set screws that are wired together).
Helpful hint: Removing the shaft from the shaft
coupling may be difficult. The drawing below shows the
use of a spacer as a press between the propeller shaft
and the transmission coupling.
A. Insert a spacer (with a diameter smaller
than the shaft) between the shaft and transmission
coupling.
B. Bolt the transmission coupling and shaft
coupling back together with the spacer fit between
(note: this may require longer bolts). The spacer will
act as a press to drive the shaft from the shaft
coupling as the bolts are
tightened. | |
|
REMOVING THE SHAFT
COUPLING |
 |
| A. |
Transmission |
E. |
Transmission Coupling |
| B. |
Spacer |
|
| C. |
Bolts |
F. |
Key |
| D. |
Shaft Coupling |
G. |
Shaft | |
| 3. |
Remove the old stuffing box and rubber
hose to expose the shaft log (stern tube).
|
If your boat is equipped with a bolt-on or rigid stuffing box,
please refer to heading: for bolt-on or rigid stuffing boxes.
If your boat is equipped with a threaded stuffing box, please
refer to heading: for threaded stuffing boxes.
|
|
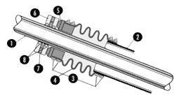
STANDARD SPEED P.S.S. SHAFT
SEAL |
Hull
Speed Under 12 Knots. (Boats equipped with water injected
stuffing box, use high speed.)

|
| 1. |
Propeller Shaft |
5. |
Carbon Graphite Flange (1) |
| 2. |
Shaft Log (Stern Tube) |
6. |
Stainless Steel Rotor (1) |
| 3. |
Stainless Steel Hose Clamps (4) |
7. |
Stainless Steel Screws (5 total/4 for Rotor, 1
spare) |
| 4. |
Reinforced Bellow (1) |
8. |
Nitrile O-Rings (2 in Rotor/2
spare) | | |
|
HIGH SPEED P.S.S. SHAFT
SEAL |
Hull
speed over 12 Knots and boats with water injected stuffing
box

|
| 1. |
Propeller Shaft |
6. |
Stainless Steel Rotor (1) |
| 2. |
Shaft Log (Stern Tube) |
7. |
Stainless Steel Screws (5 total/4 for Rotor, 1
spare) |
| 3. |
Stainless Steel Hose Clamps (4) |
8. |
Nitrile O-Rings (2 in Rotor/2 spare) |
| 4. |
Reinforced Bellow (1) |
9. |
Nylon Hose Barb Fitting |
| 5. |
Carbon Graphite Flange (1) |
|
| | |
| 4. |
Slide the open end of the bellow and two hose
clamps over the shaft log. The carbon flange (5) should
already be securely attached to the bellow.
|
| 5. |
Clean the shaft with very fine sand paper or
emery paper (400 to 600 grit), paying particular attention to the
shaft key way to make certain there are no burrs or sharp edges that
could tear the o-rings.
|
| 6. |
Slide the stainless steel rotor (6)
onto the shaft using a water soluble lubricant like dish soap to
help the rotor slide easily. Do not use grease or oil! Make sure the
o-rings (8) are positioned in the grooves of the rotor (spare
o-rings are provided) and that the set screws (7) are backed
out so that they do not extend into the inside bore of the
rotor.
|
| 7. |
Attach the shaft and shaft coupling (do not
forget to secure coupling with set screws). Wire set screws together
to avoid loosening.
|
| 8. |
Position the bellow on the stern tube so the
carbon is centered around shaft (the carbon graphite flange is bored
larger than the shaft to compensate for vibration or misalignment).
Clamp the cuff of the bellow to the shaft log (2) with the two
stainless steel hose clamps. |
| 9. |
Slide the stainless steel rotor (6)
down the shaft so it just comes in contact with the carbon graphite
flange (5). Mark this "neutral" position on the shaft just in
front of the stainless steel rotor with a marker or tape.
|
|
BELLOW COMPRESSION CHART |
| Shaft
diameter |
Compression amount |
 |
3/4"
to 1 1/8" (22mm to 30mm) |
3/4" (20mm) |
 |
1
1/4" to 2" (32mm to 55mm) |
1" (25mm) |
 |
2
1/4" to 3 3/4" (60mm to 95mm) |
1" (25mm) |
| Note:
amount of compression may vary depending on motor mounts and
shaft misalignment. | |
| 10. |
Using the stainless steel rotor, compress the
bellow (4) the amount indicated on the bellow compression
chart (the "neutral" mark on the shaft is used as a reference to
measure amount of compression). While keeping the bellow compressed,
tighten the two set screws to secure the rotor to the shaft. Once
these set screws are secured, a second pair of screws are stacked on
top of the first to act as locking screws to prevent the lower
screws from possibly backing away from the
shaft.
|
| 11. |
High speed seals with nylon hose barb
fitting reference 11-a. Standard speed seals reference 11-b
11-a. High speed seals with a nylon hose barb fitting
require that water be plumbed into the seal to cool and lubricate it
and the cutless bearing.Three methods for plumbing water into the
seal:
| 1. Remove plug from heat
exchanger and replace plug with a hose barb fitting (this plug
would normally be used to drain water from the engine). Run a
reinforced hose to shaft seals nylon hose barb (3/8"). Secure
both with hose clamps.
2. Cut into the exhaust line of the cooling system
before hot water is discharged overboard. Fit T-adapter into
line and plumb water into shaft seal nylon hose barb (3/8"),
using reinforced hose. Secure all connections with hose
clamps. |
|
T-ADAPTER |
 | |
|
T-KIT |
 | |
Note: P.Y.I. T-adapter fittings or T-adapter kits
(T-adapter, 6" reinforced hose, 4 hose clamps) are
available for 3/4" or 1" internal hose
diameters. |
11-b. Standard speed seals When a boat with a
watertight (P.S.S.) seal goes back in the water, there will be an
air pocket trapped in the shaft log (stern tube). This air pocket
must be vented so water can reach the face of the seal to help cool
and lubricate it. To vent the air pocket, simply compress the bellow
(push the carbon away from the stainless steel rotor with your hand)
so that water fills the shaft log (stern tube). A small amount of
water will enter the boat at this time and will stop as soon as you
release the bellow, allowing the two faces to come back in contact.
This procedure should be done every time the boat goes back in
the water and is not required with high speed
seals.
|
|
BOLT-ON OR RIGID STUFFING
BOXES: |
If your stuffing box is a bolt-on or rigid type, you will need to
reverse the flange that was used to compress the packing. This flange will
be bolted to the face of the bolt-on stuffing box and sealed with a gasket
so no water can leak through. Once reversed, the bellow can be fit over
the tube that was used to compress the packing. When completed, proceed
with step #4 of instructions.
|
BEFORE |
 | |
|
AFTER |
 | |
If your old stuffing box was threaded directly into the hull, you will
need to cover the threads with a liquid gasket material like "form-a
gasket" to prevent the threads from cutting into the bellow. When
completed, proceed with step #4 of instructions.
There is, on average, a 10 minute break-in period when the carbon
graphite flange will polish the face of the stainless steel rotor. During
this break-in period there will be a very fine black mist being emitted
when shaft is turning at high R.P.M.'s.
1. Spray or mist during operation:
Dimensions provided in the bellow compression chart are an average and
should act as a guide. If you should experience any spray or misting
during high speed operation (after break-in period), add an additional
1/8" compression to the bellow with the rotor and repeat until the spray
has stopped.
2. Dripping while not operational:
If the seal leaks when the shaft is not turning, some foreign material
such as grease or oil may be prohibiting the two faces from seating
properly. To clean this foreign material from the two faces, insert a
clean cloth rag between the carbon graphite and stainless steel rotor and
rotate it around the shaft vigorously. As you do this, water will flush
both faces of any impurities. Remove the rag from the seal and the leak
should stop.
|